安庆E网

搜索
查看: 6189|回复: 0

耳镜检查痛吗?

[复制链接]

0

收听

1

听众

17

帖子

E粉新人

注册时间
2020-10-29
精华
0
发表于 2020-11-29 16:11:26 | 显示全部楼层 |阅读模式
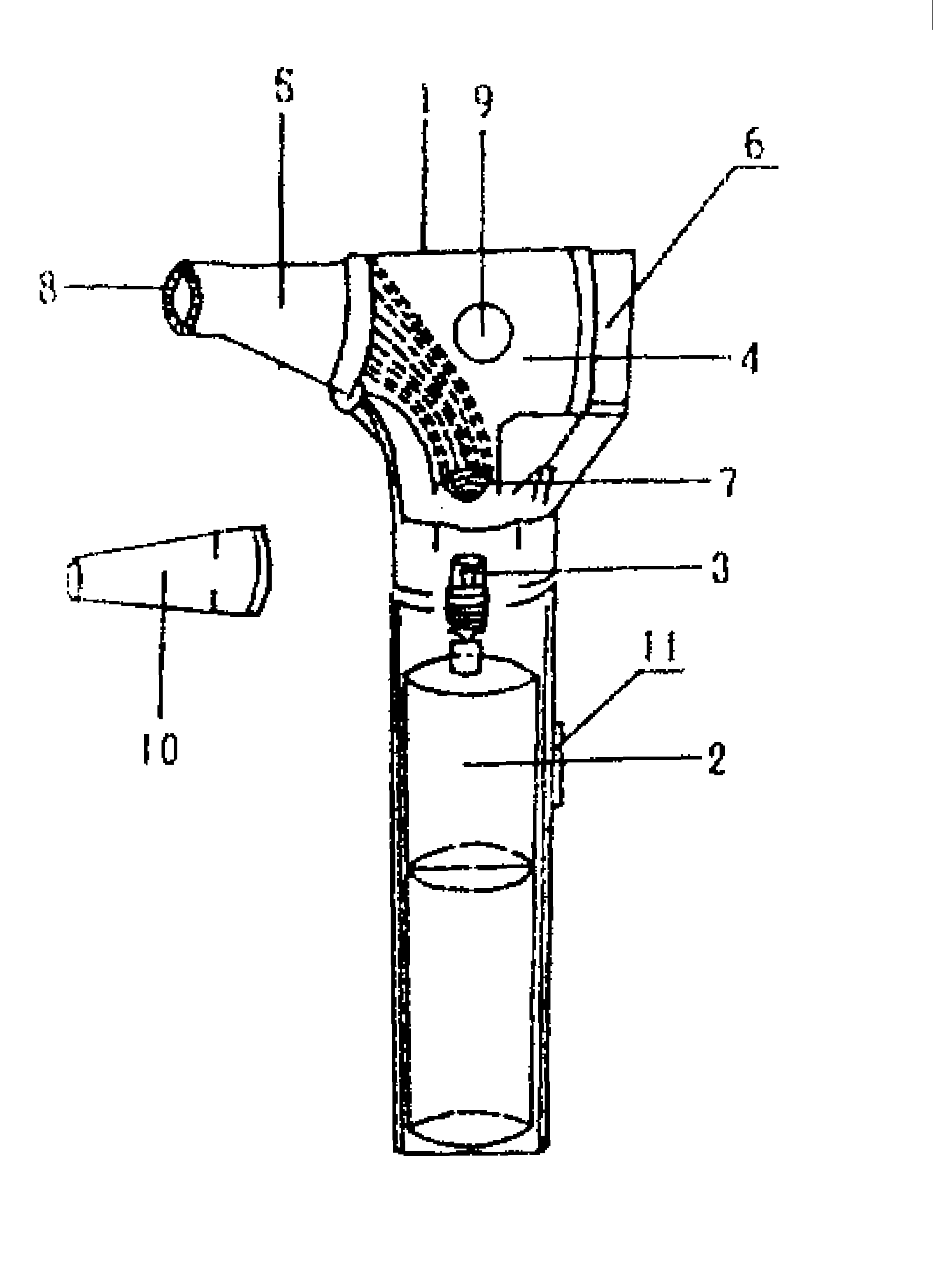
耳镜检查不会有特殊的感觉,耳镜检查通常指硬性耳内窥镜或电耳镜,电耳镜是手持式的检查装置,装置上有光源,前端有空心的锥形结构,锥形顶部有小孔,整体形状和漏斗类似。检查时,将装置插入到患者的耳朵内,把耳道外的汗毛过滤掉,就能够清晰地将整个鼓膜和耳道暴露出来,方便医生进行相关的检查。
        耳镜检查通常不会出现疼痛的现象,医生在进行操作时,由于耳道的弧度,在调整角度的时候患者可能会有被触碰的感觉,不需要特别担心,规范的耳镜检查通常不会出现疼痛和损伤的情况。除电耳镜外,还有硬性耳内镜检查,硬性耳能镜需要连接光源,装置是很细的管道,整体比较硬,将其插入患者的耳朵内,能够更清晰地检查耳道内的情况,二者都不会造成耳朵疼痛的现象。

        耳镜检查主要是为了清晰观察耳道内部的情况。进行规范的耳镜检查时,在医生调整装置角度时,患者可能会产生被触碰的感觉,但通常不会造成损伤和疼痛。
timg.gif
回复

使用道具 举报

您需要登录后才可以回帖 登录 | 注册

本版积分规则

联系合作|手机版|手机APP|Archiver|

GMT+8, 2025-12-10 16:13 Powered by Discuz! X3.4

安庆E网生活网站 © 2001-2013 Comsenz Inc. ( 皖ICP备05012696号 )

QQ

安庆瑞易文化 地址:华茂1958-C7栋 联系电话:0556-5306667 联系邮箱:17779721@qq.com 互联网违法和不良信息举报电话和邮箱:0556-5306667 17779721@qq.com

皖公网安备 34080002000101号

    
快速回复 返回顶部 返回列表